Steel wire chairs manufactured to provide a straight line of support at a uniform height.
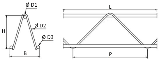
Passive reinforcement obtained by a spot welding process with a triangular prism shape, consisting of 3 wires at the vertices of the triangle and 2 wires on the side with a sinusoidal wave pattern.
The constituent wires are produced by cold deformation.
| H (mm) | B (mm) | D1 (mm) | D3 (mm) | D2 (mm) | P (mm) | L (m) |
| 70 to 250 | 70 to 100 | 4 to 12 | 3 to 12 | 3 to 6 | 200 | 1.40 to 14 |
Other specifications on request.
Separation between layers of reinforcement.
Support for top reinforcement in slabs.
Some examples:
- Pedestrian access;
- Protection roofs;
- Tunnels.





